哈夫曼树|Huffman Tree 在数据通信中,如果允许对不同的字符采用不等长的二进制码进行表示,那么这种编码方式称为 可变长度编码(variable-length code) 。该编码方式对使用频率较高的字符赋以短编码,从而使得字符的平均编码长度减小,实现了压缩数据的效果。
哈夫曼编码 就是一种被广泛运用的数据压缩编码,通常可以节省 20%~90% 的空间。
如果没有一个编码是另一个编码的前缀,则称这样的编码是 前缀码(prefix code) 。 例如 二进制串 001011101,如果根据前缀码的唯一性(没有二义性)的思路进行解码,那么可以得到0,0,101,1101,这个解码过程是没有歧义的。
前缀码被证明是可以保证达到最优数据压缩率的一种编码,而哈夫曼编码就是基于前缀码实现的。
字符解码 在上面的例子中,我们并没有给出解码的过程。这里再展开阐述。 前缀码的解码依赖于二叉树,即我们可以通过构造二叉树的方式轻松对前缀码进行解码。
构造的二叉树应具有如下特点:
叶子结点用于表示所给的的字符; 字符的二进制码通过根结点到对应的叶子结点的路径表示,“0”表示转向左子结点,“1”表示转向右子结点。 注:该二叉树并不是BST,其自己子结点并未有序排列,内部结点也不包含key.
如下图所示,按照这个解码逻辑以及给出的树,我们可以轻松解码刚刚的001011101为aabe。
文件的最优编码方案总是对应一棵 满二叉树 。即任何树内的非叶子结点都有左右两个孩子。
编码与形式化 我们为二叉树定义了一个衡量其是否最优的指标:带权路径长度 。
W P L = ∑ i = 1 n w i l i WPL=\sum_{i=1}^n w_il_i W P L = i = 1 ∑ n w i l i
其中,权 表示的是一棵树中结点被赋予某种意义的数值, 路径长度 是从树根到任意结点经过的边数,而 WPL 就是我们定义的带权路径长度,由叶子结点 与其上的权的乘积组成。w i w_i w i 就是第i i i 个叶子结点所带权值w e i g h t weight w e i g h t ,l i l_i l i 就是第i i i 个叶子结点到根结点的路径长度l e n g t h length l e n g t h .
如果一棵二叉树使得 WPL 最小,那么这棵树我们就称为 最优二叉树 。
根据前缀码的特点,以及二叉树的特性,我们引入 WPL 就可以得到类似的指标:平均传输位数 。 二叉树的权用字符的出现频率表示,路径长度即是二进制码位数。
如果一棵二叉树的平均传输位数最小,那么其对应的编码方式我们就称为 最优前缀码 。
哈夫曼为了构造最优二叉树,利用了贪心算法 的思想。
假定C C C 是一个含有n n n 个字符的字符集合。∀ c ∈ C \forall c\in C ∀ c ∈ C ,用c . f r e q c.freq c . f re q 表示C C C 中的字符c c c 出现的频率 。 于是,目标函数便是最优化 平均传输位数(WPL):
W P L = ∑ c ∈ C c . f r e q × d T ( c ) WPL=\sum_{c\in C}c.freq\times d_T(c) W P L = c ∈ C ∑ c . f re q × d T ( c )
其中,d T ( c ) d_T(c) d T ( c ) 表示字符c c c 在二叉树T T T 中的深度。
算法伪代码如下:
输入:C = { c 1 , c 2 , . . . , c n } C=\{c_1,c_2,...,c_n\} C = { c 1 , c 2 , ... , c n } 输出:Q Q Q 构造完成的二叉树 Algorithm: HUFFMAN ( C ) 1. n ← ∣ C ∣ 2. Q ← C / / Q 为按频率 C . f r e q 递增的优先队列 3. f o r i = 1 t o n − 1 d o 4. z ← Allocate-Node ( ) / / 生成一个新结点 z 5. z . l e f t ← x ← Extract-min ( Q ) 6. z . r i g h t ← y ← Extract-min ( Q ) 7. z . f r e q ← x . f r e q + y . f r e q 7. Insert ( Q , z ) 8. r e t u r n Q \begin{aligned} &\text{Algorithm: }\;\text{HUFFMAN}(C)\\\\ 1.&\;n\leftarrow|C|\\ 2.&\;Q\leftarrow C\;//Q\text{为按频率 }C.freq\text{ 递增的优先队列}\\ 3.&\;\mathbf{for}\;i\;=1\;\mathbf{to}\;n-1\;\mathbf{do}\\ 4.&\;\qquad z\leftarrow \text{Allocate-Node}()\;//\text{生成一个新结点}z\\ 5.&\;\qquad z.left\leftarrow x\leftarrow\text{Extract-min}(Q)\\ 6.&\;\qquad z.right\leftarrow y\leftarrow\text{Extract-min}(Q)\\ 7.&\;\qquad z.freq\leftarrow x.freq+y.freq\\ 7.&\;\qquad \text{Insert}(Q,z)\\ 8.&\;\mathbf{return}\;Q \end{aligned} 1. 2. 3. 4. 5. 6. 7. 7. 8. Algorithm: HUFFMAN ( C ) n ← ∣ C ∣ Q ← C // Q 为按频率 C . f re q 递增的优先队列 for i = 1 to n − 1 do z ← Allocate-Node ( ) // 生成一个新结点 z z . l e f t ← x ← Extract-min ( Q ) z . r i g h t ← y ← Extract-min ( Q ) z . f re q ← x . f re q + y . f re q Insert ( Q , z ) return Q
哈夫曼树的构造算法 就是:自底向上地,将∣ C ∣ |C| ∣ C ∣ 个叶子结点通过关于c . f r e q c.freq c . f re q 的最小优先队列 Q Q Q 进行两两合并。合并得到的新对象,记其频率为构成该对象的原来两个对象的频率之和,放回队列中。 一共进行了∣ C ∣ − 1 |C|-1 ∣ C ∣ − 1 次合并后,得到结果。
如果优先队列Q Q Q 采用 最小二叉堆 实现,则每一次循环取出当前最小元的过程需要花费O ( log n ) O(\log n) O ( log n ) ,循环次数O ( n − 1 ) O(n-1) O ( n − 1 ) ,事先装载队列需要O ( n ) O(n) O ( n ) . 综合来看,该算法的时间复杂度为O ( n log n ) O(n\log n) O ( n log n ) ,空间复杂度O ( n ) O(n) O ( n ) .
正确性证明 哈夫曼树的构造方法被证明完全能得到最优解,即其构造的二叉树的WPL一定最小。因此,我们也把最优二叉树叫做哈夫曼树 。
下面给出其正确性的证明。
因为哈夫曼算法采用的是贪心策略,因此我们要证明其正确性需要从 贪心选择性质 和 最优子结构 两方面进行论证。
贪心选择性质 贪心选择性质 引理1 如果∃ x , y ∈ C \exists x,y \in C ∃ x , y ∈ C ,且x . f r e q x.freq x . f re q 与y . f r e q y.freq y . f re q 最小,则存在一个C C C 的最优前缀码使得x , y x,y x , y 的二进制码位数相等,且只有最后一位的数值不等。
引理1的证明 证明 设T T T 是关于C C C 的任意一个最优前缀码对应的最优二叉树。令a , b a,b a , b 是T T T 中深度最大的两个叶结点(a ≠ b a\neq b a = b ) 不妨设a . f r e q ≤ b . f r e q & & x . f r e q ≤ y . f r e q a.freq \leq b.freq\;\&\&\; x.freq\leq y.freq a . f re q ≤ b . f re q && x . f re q ≤ y . f re q . 由于a , b a,b a , b 虽然深度最深,但其频率不一定最小,且一定不会比x , y x,y x , y 还小。所以有:
x . f r e q ≤ a . f r e q y . f r e q ≤ b . f r e q x.freq \leq a.freq\;\;\;\\y.freq \leq b.freq x . f re q ≤ a . f re q y . f re q ≤ b . f re q
当x . f r e q = b . f r e q x.freq=b.freq x . f re q = b . f re q 时,由于x . f r e q ≤ y . f r e q x.freq\leq y.freq x . f re q ≤ y . f re q ,所以x , b x,b x , b 都是频率最低的,而已知y y y 也是频率最低的两个字符中的一个,因此有y = b y=b y = b 或y = x y=x y = x ,即y . f r e q = x . f r e q y.freq=x.freq y . f re q = x . f re q ,最后有: x . f r e q ≤ a . f r e q ≤ b . f r e q = x . f r e q = y . f r e q ⇒ a . f r e q = b . f r e q = x . f r e q = y . f r e q \begin{aligned}x.freq \leq a.freq \leq b.freq =x.freq=y.freq\\\\\Rightarrow a.freq=b.freq=x.freq=y.freq\end{aligned} x . f re q ≤ a . f re q ≤ b . f re q = x . f re q = y . f re q ⇒ a . f re q = b . f re q = x . f re q = y . f re q
这表明,如果将a , b , x , y a,b,x,y a , b , x , y 的位置交换,不改变 WPL 的值,问题得证。
当x . f r e q ≠ b . f r e q x.freq\neq b.freq x . f re q = b . f re q 时,即x ≠ b x\neq b x = b 时,我们将x , a x,a x , a 进行交换,得到区别于T T T 的新树T ′ T' T ′ ,将y , b y,b y , b 进行交换,得到区别于T ′ T' T ′ 的新树T ′ ′ T'' T ′′ . (注:如果x = b , y ≠ a x=b,y\neq a x = b , y = a 那么上面的这个交换方法得到的T ′ ′ T'' T ′′ 中,x , y x,y x , y 不是兄弟结点,即不会出现只有最后一位不等的情况) 于是:
W P L ( T ) − W P L ( T ′ ) = ∑ c ∈ C c . f r e q × d T ( c ) − ∑ c ∈ C c . f r e q × d T ∗ ( c ) = ( a . f r e q − x . f r e q ) [ d T ( a ) − d T ( x ) ] ≥ 0 \begin{aligned}WPL(T)-WPL(T')&=\sum_{c\in C}c.freq\times d_T(c)-\sum_{c\in C}c.freq\times d_{T^*}(c)\\&=(a.freq-x.freq)[d_T(a)-d_T(x)]\\&\geq 0\end{aligned} W P L ( T ) − W P L ( T ′ ) = c ∈ C ∑ c . f re q × d T ( c ) − c ∈ C ∑ c . f re q × d T ∗ ( c ) = ( a . f re q − x . f re q ) [ d T ( a ) − d T ( x )] ≥ 0
类似地,有W P L ( T ′ ) − W P L ( T ′ ′ ) ≥ 0 WPL(T')-WPL(T'')\geq 0 W P L ( T ′ ) − W P L ( T ′′ ) ≥ 0 ,从而得到W P L ( T ) ≥ W P L ( T ′ ′ ) WPL(T)\geq WPL(T'') W P L ( T ) ≥ W P L ( T ′′ ) . 说明,交换后得到的新树T ′ ′ T'' T ′′ 的WPL 小于或等于 最优二叉树T T T 。而最优二叉树的WPL是理论最小的,所以只有二者相等。即交换之后的新树仍为最优二叉树,问题得证。
最优子结构 最优子结构性质 引理2 令C ′ = ( C − { x , y } ) ∪ z , z . f r e q = x . f r e q + y . f r e q C'=(C-\{x,y\})\cup {z},\quad z.freq=x.freq+y.freq C ′ = ( C − { x , y }) ∪ z , z . f re q = x . f re q + y . f re q ,且T ′ T' T ′ 是C ′ C' C ′ 的最优二叉树,则将T ′ T' T ′ 中的结点z z z 替换为以x , y x,y x , y 为左右子结点的内部节点从而生成的树T T T 是C C C 的最优二叉树。
引理2的证明 证明 根据题意,有∀ c ∈ C − { x , y } , d T ( c ) = d T ′ ( c ) \forall c\in C-\{x,y\}, d_T(c)=d_{T'}(c) ∀ c ∈ C − { x , y } , d T ( c ) = d T ′ ( c ) ,并且还有d T ( x ) = d T ( y ) = d T ′ ( x ) + 1 d_T(x)=d_T(y)=d_{T'}(x)+1 d T ( x ) = d T ( y ) = d T ′ ( x ) + 1 . 于是就有:
W P L ( T ) = W P L ( T ′ ) + x . f r e q + y . f r e q W P L ( T ′ ) = W P L ( T ) − x . f r e q − y . f r e q \begin{aligned}WPL(T)&=WPL(T')+x.freq+y.freq\\WPL(T')&=WPL(T)-x.freq-y.freq\end{aligned} W P L ( T ) W P L ( T ′ ) = W P L ( T ′ ) + x . f re q + y . f re q = W P L ( T ) − x . f re q − y . f re q
利用反证法 。 如果T T T 不是C C C 的最优二叉树,则存在T ∗ T^* T ∗ 使得W P L ( T ∗ ) < W P L ( T ) WPL(T^*)\lt WPL(T) W P L ( T ∗ ) < W P L ( T ) . 由定理1 可知,T ∗ T^* T ∗ 中存在频率最小的兄弟结点x , y x,y x , y 。现将它们及其父结点替换为新的结点z z z ,并且令z . f r e q = x . f r e q + y . f r e q z.freq=x.freq+y.freq z . f re q = x . f re q + y . f re q ,得到新的树T ∗ ′ T^{*'} T ∗ ′ 。 从而,有:
W P L ( T ∗ ′ ) = W P L ( T ∗ ) − x . f r e q − y . f r e q < W P L ( T ) − x . f r e q − y . f r e q = W P L ( T ′ ) \begin{aligned}WPL(T^{*'})&=WPL(T^*)-x.freq-y.freq\\&\lt WPL(T)-x.freq-y.freq=WPL(T')\end{aligned} W P L ( T ∗ ′ ) = W P L ( T ∗ ) − x . f re q − y . f re q < W P L ( T ) − x . f re q − y . f re q = W P L ( T ′ )
这说明,存在T ∗ ′ T^{*'} T ∗ ′ 使得C ′ C' C ′ 的 WPL 最小,与已知条件矛盾。
哈夫曼算法的正确性 由 引理1 和 引理2 可知,哈夫曼算法能够得到最优解.
编程实现 采用 C++ 语言进行编程,此处利用了 STL 标准库中的优先队列 (头文件<queue>)
因为哈夫曼树是二叉树的一种,因此考虑采用结构体的方式进行存储:
1 2 3 4 5 6 7 8 9 10 11 12 13 14 15 16 17 18 19 20 21 typedef struct HT { int freq; char key; HT *left; HT *right; }HuffmanTree; struct cmp { bool operator () (HuffmanTree *a, HuffmanTree *b) { return a->freq > b->freq; } }; typedef struct { char ch; int freq; }CharSet; typedef priority_queue<HuffmanTree*,vector<HuffmanTree*>,cmp> HTqueue;
然后是根据伪代码实现具体细则:
1 2 3 4 5 6 7 8 9 10 11 12 13 14 15 16 17 18 19 20 21 22 23 void CreateHuffmanTree (HTqueue &Q, CharSet C[], int n) { for (int i = 0 ; i < n; i++){ HuffmanTree *tmp = new HuffmanTree (); tmp->key = C[i].ch; tmp->freq = C[i].freq; tmp->left = NULL ; tmp->right = NULL ; Q.push (tmp); } for (int i = 0 ; i < n-1 ; i++){ HuffmanTree *tmp = new HuffmanTree (); HuffmanTree *left = Q.top (); Q.pop (); HuffmanTree *right = Q.top (); Q.pop (); tmp->left = left; tmp->right = right; tmp->freq = left->freq + right->freq; tmp->key = '\0' ; Q.push (tmp); } }
编写函数实现哈夫曼编码:
1 2 3 4 5 6 7 8 9 10 11 void OutputHuffmanCode (HuffmanTree *CodeTree, string code="" ) { if (CodeTree->key != '\0' ){ cout << CodeTree->key << ": (" << CodeTree->freq << ")" ; cout << code << endl; } if (CodeTree->left != NULL && CodeTree->right != NULL ){ OutputHuffmanCode (CodeTree->left,code+"0" ); OutputHuffmanCode (CodeTree->right,code+"1" ); } }
实例演示 考虑字符集< a : 45 , b : 13 , c : 12 , d : 16 , e : 9 , f : 5 > <a:45,b:13,c:12,d:16,e:9,f:5> < a : 45 , b : 13 , c : 12 , d : 16 , e : 9 , f : 5 > 手工绘制得到如下哈夫曼结果:100 a: 45 55 25 30 14 c: 12 b: 13 f: 5 e: 9 d: 16 a:0 b:101 c:100 d:111 e:1101 f:1100
下面通过调用算法查看.
主函数:
1 2 3 4 5 6 7 8 int main (void ) { HTqueue Q; CharSet C[6 ]={{'a' ,45 },{'b' ,13 },{'c' ,12 },{'d' ,16 },{'e' ,9 },{'f' ,5 }}; CreateHuffmanTree (Q, C, 6 ); OutputHuffmanCode (Q.top ()); cout << "END" << endl; while (1 ); }
输出结果:
1 2 3 4 5 6 7 a: (45)0 c: (12)100 b: (13)101 f: (5)1100 e: (9)1101 d: (16)111 END
Prefect!
最优二叉检索树|Optimal Binary Search Tree 哈夫曼树,也被称作最优二叉树,是通过建立一棵二叉树,对指定频率的字符进行编码,从而使得字符的平均编码长度达到最低,实现了数据的压缩。
而最优二叉检索树则是为了实现对于给定频率的字符,建立BST使得搜索效率最高。
例如想要实现对某英文文本中一个单词的快速查找并翻译,我们可以建立一棵 二叉搜索树 (BST) 存储英文单词,而对于英文中出现频率很高的 the 这一单词,我们希望它在 BST 中更靠近根结点,这样可以很快检索到它。这种使得所有搜索过程中,访问结点个数最少(也就是搜索效率最高)的 BST,就被称为 最优二叉检索树 (OBST)。
形式化表达 给定n n n 个不同关键字(key)的已排序 序列K = < k 1 , k 2 , . . . , k n > K=<k_1,k_2,...,k_n> K =< k 1 , k 2 , ... , k n > ,有k 1 < k 2 < ⋯ < k n k_1\lt k_2\lt\cdots\lt k_n k 1 < k 2 < ⋯ < k n . 每个关键词附有一个属性k i . p k_i.p k i . p 表示该关键字的搜索频率,即一个待搜索的关键字x x x 是k i k_i k i 的概率. 此外,还存在有n + 1 n+1 n + 1 个伪关键字d 0 , d 1 , . . . , d n d_0,d_1,...,d_n d 0 , d 1 , ... , d n 坐落在K K K 的空隙 中,∀ i ≠ 0 , i ≠ n \forall i\neq0,i\neq n ∀ i = 0 , i = n 有d i d_i d i 表示在( k i , k i + 1 ) (k_i,k_{i+1}) ( k i , k i + 1 ) 内的所有关键字,而d 0 : ( − ∞ , k 1 ) , d n : ( k n , + ∞ d_0:(-\infty,k_1),\;d_n:(k_n,+\infty d 0 : ( − ∞ , k 1 ) , d n : ( k n , + ∞ ). 伪关键字也有属性d i . p d_i.p d i . p 表示它所表示的那个范围的搜索频率,即x x x 在d i d_i d i 表示范围内的概率.
自然有:
∑ i = 1 n k i . p + ∑ i = 0 n d i . p = 1 \sum_{i=1}^nk_i.p+\sum_{i=0}^nd_i.p=1 i = 1 ∑ n k i . p + i = 0 ∑ n d i . p = 1
对上述关键字序列建立任意一棵 BST,显然代表空隙的d i d_i d i 始终作为叶子结点 出现。一个示例如下图所示:
通过 BST 搜索某个结点x x x 时,需要访问的结点数就是d T ( x ) + 1 d_T(x)+1 d T ( x ) + 1 ,我们就将访问结点数作为一个关键字的搜索代价。(其中,d T ( x ) d_T(x) d T ( x ) 表示字符x x x 在二叉搜索树T T T 中的深度)
那么与W P L WPL W P L 类似,一个最优二叉检索树的期望代价 :
E [ Search cost in T ] = ∑ i = 1 n [ d T ( k i ) + 1 ] × k i . p + ∑ i = 0 n [ d T ( d i ) + 1 ] × d i . p = 1 + ∑ i = 1 n d T ( k i ) × k i . p + ∑ i = 0 n d T ( d i ) × d i . p \begin{aligned} E[\text{Search cost in }T]&=\sum_{i=1}^n[d_T(k_i)+1]\times k_i.p+\sum_{i=0}^n[d_T(d_i)+1]\times d_i.p\\ &=1+\sum_{i=1}^nd_T(k_i)\times k_i.p+\sum_{i=0}^nd_T(d_i)\times d_i.p \end{aligned} E [ Search cost in T ] = i = 1 ∑ n [ d T ( k i ) + 1 ] × k i . p + i = 0 ∑ n [ d T ( d i ) + 1 ] × d i . p = 1 + i = 1 ∑ n d T ( k i ) × k i . p + i = 0 ∑ n d T ( d i ) × d i . p
求解最优二叉检索树就是找到这样一棵二叉搜索树T ∗ T^* T ∗ ,使得E ( T ∗ ) E(T^*) E ( T ∗ ) 最小.
T ∗ = arg max T E ( T ) T^*=\arg\max_{T}E(T) T ∗ = arg T max E ( T )
问题分析 构造一棵任意的 BST 是简单的。我们只需对K K K 进行全排列,以排列后的序列第一个元素作为根结点,依照 BST 的构建方法逐步添加结点,直到所有的k i k_i k i 加入树中,然后再填补空隙d i d_i d i 作为叶子结点即可。这样能得到所有可能的 BST(含重复),即便如此,搜索所有可能的解空间需要消耗的时间也十分巨大。
《算法导论》一书中指出,n n n 个结点的二叉树(虽然并不是BST)数量在Ω ( 4 n / n 3 / 2 ) \Omega(4^n/n^{3/2}) Ω ( 4 n / n 3/2 ) ,所以暴力穷举求解是十分困难的,存在指数爆炸问题 。因此下面将介绍一种使用动态规划 求解 OBST 的算法。
状态转移方程 现在我们从后往前 思考,对于一棵以k r k_r k r 为根结点的 BST,其搜索代价必然包含 k r k_r k r 本身的代价,以及由k r k_r k r 所划分的左右子树T 1 , T 2 T_1,\;T_2 T 1 , T 2 的搜索代价.
其中,T 1 T_1 T 1 是由全体小于k r k_r k r 的关键字子序列K 1 : = K < k 1 . . k r − 1 > K_1:=K<k_1..k_{r-1}> K 1 := K < k 1 .. k r − 1 > 构成,当然还包括伪关键字(空隙)的子序列D 1 = D < d 0 . . d r − 1 > D_1=D<d_0..d_{r-1}> D 1 = D < d 0 .. d r − 1 > ;T 2 T_2 T 2 是由全体大于k r k_r k r 的关键字子序列K 2 : = K < k 1 . . k r − 1 > K_2:=K<k_1..k_{r-1}> K 2 := K < k 1 .. k r − 1 > 及其对应的空隙子序列D 2 D_2 D 2 构成。
k r K1: <k1,k2,...,kr-1> K2: <kr+1,kr+2,...,kn> T T1 T2 并且,以k r k_r k r 作为根结点时的二叉树T T T 比之其左右子树T 2 , T 2 T_2,\;T_2 T 2 , T 2 深度多了正好一个单位 。 从而,有:
E ( T ) = [ E ( T 1 ) + w ( 1 , k − 1 ) ] + [ E ( T 2 ) + w ( k + 1 , n ) ] + k r . p = E ( T 1 ) + E ( T 2 ) + [ w ( 1 , k − 1 ) + w ( k + 1 , n ) + k r . p ] = E ( T 1 ) + E ( T 2 ) + w ( 1 , n ) \begin{aligned} E(T)&=[E(T_1)+w(1,k-1)]+[E(T_2)+w(k+1,n)]+k_r.p\\ &=E(T_1)+E(T_2)+[w(1,k-1)+w(k+1,n)+k_r.p]\\ &=E(T_1)+E(T_2)+w(1,n) \end{aligned} E ( T ) = [ E ( T 1 ) + w ( 1 , k − 1 )] + [ E ( T 2 ) + w ( k + 1 , n )] + k r . p = E ( T 1 ) + E ( T 2 ) + [ w ( 1 , k − 1 ) + w ( k + 1 , n ) + k r . p ] = E ( T 1 ) + E ( T 2 ) + w ( 1 , n )
其中,w ( 1 , k − 1 ) w(1,k-1) w ( 1 , k − 1 ) 是左子树深度增加一位之后,比起E ( T 1 ) E(T_1) E ( T 1 ) 来多出来的搜索代价 ,右子树同理。不难给出对于任意新增代价 w ( i , j ) w(i,j) w ( i , j ) 的表达式:
w ( i , j ) = ∑ l = i j k l . p + ∑ l = i − 1 j d l . p w(i,j)=\sum_{l=i}^jk_l.p+\sum_{l=i-1}^jd_l.p w ( i , j ) = l = i ∑ j k l . p + l = i − 1 ∑ j d l . p
事实上,T 1 , T 2 T_1,\;T_2 T 1 , T 2 正是由我们需要解决的问题中划分出来的更小规模的子问题 。我们只需要搜索 从K K K 中,以哪一个结点作为根结点 可以使得E ( T ) E(T) E ( T ) 最大,那么问题就可以解决。
更一般化地,如果需要从子序列< k i , k i + 1 , . . . , k j > <k_i,k_{i+1},...,k_j> < k i , k i + 1 , ... , k j > 中求最小期望代价,那么可以将序列的起始点和终止点作为 状态 ,在该状态下的最优值记作d p ( i , j ) dp(i,j) d p ( i , j ) 则有:
d p ( i , j ) = { min i ≤ k ≤ j { d p ( i , k − 1 ) + d p ( k + 1 , j ) + w ( i , j ) } , j ≥ i d i − 1 . p , j = i − 1 dp(i,j)=\begin{cases} \min\limits_{i\leq k\leq j}\{dp(i,k-1)+dp(k+1,j)+w(i,j)\},&j\geq i\\ d_{i-1}.p,&j=i-1 \end{cases} d p ( i , j ) = ⎩ ⎨ ⎧ i ≤ k ≤ j min { d p ( i , k − 1 ) + d p ( k + 1 , j ) + w ( i , j )} , d i − 1 . p , j ≥ i j = i − 1
该状态方程指出,当划分出空子树 时,即j = i − 1 j=i-1 j = i − 1 时,其空隙的频率作为叶子结点出现,该频率就是唯一的搜索代价。 而j ≥ i j\geq i j ≥ i 时,就从i → j i\to j i → j 中搜索出以哪个结点k k k 为根结点时的代价最小。
值得注意的是,我们的转移方程虽然建立起来了,但是我们还需关注自底向上 的数据是如何建立的。
例如,想要计算d p [ 1 , 5 ] dp[1,5] d p [ 1 , 5 ] ,根据转移方程: 左边需要遍历d p [ 1 , 0 ] , d p [ 1 , 1 ] , d [ 1 , 2 ] , d p [ 1 , 3 ] , d p [ 1 , 4 ] dp[1,0],dp[1,1],d[1,2],dp[1,3],dp[1,4] d p [ 1 , 0 ] , d p [ 1 , 1 ] , d [ 1 , 2 ] , d p [ 1 , 3 ] , d p [ 1 , 4 ] ; 右边需要遍历d p [ 2 , 5 ] , d p [ 3 , 5 ] , d p [ 4 , 5 ] , d p [ 5 , 5 ] , d p [ 6 , 5 ] dp[2,5],dp[3,5],dp[4,5],dp[5,5],dp[6,5] d p [ 2 , 5 ] , d p [ 3 , 5 ] , d p [ 4 , 5 ] , d p [ 5 , 5 ] , d p [ 6 , 5 ] .
而这些都需要我们一开始计算并保存过。下面给出将动态规划表旋转后的结果,该旋转使得数组的对角线元素在水平线上。
6 5 4 3 2 1 5 4 3 2 1 4 3 2 1 3 2 1 2 1 1 i j dp Table 0 5 1 6 图中的数字并不是实际结果,而是一个标记。可见只有在先算完图中标记为1 1 1 的数据之后,才能去计算标记为2 2 2 的数据,以此类推。 如果记l l l 为上表中的 标记值-1,则:
l = 0 l=0 l = 0 时,i = 1 , 2 , 3 , 4 , 5 , 6. j = 0 , 1 , 2 , 3 , 4 , 5 i=1,2,3,4,5,6.\;j=0,1,2,3,4,5 i = 1 , 2 , 3 , 4 , 5 , 6. j = 0 , 1 , 2 , 3 , 4 , 5 (此时j = i − 1 j=i-1 j = i − 1 ,所以应提前处理)l = 1 l=1 l = 1 时,i = 1 , 2 , 3 , 4 , 5. j = 1 , 2 , 3 , 4 , 5 i=1,2,3,4,5.\;j=1,2,3,4,5 i = 1 , 2 , 3 , 4 , 5. j = 1 , 2 , 3 , 4 , 5 l = 2 l=2 l = 2 时,i = 1 , 2 , 3 , 4. j = 2 , 3 , 4 , 5 i=1,2,3,4.\;j=2,3,4,5 i = 1 , 2 , 3 , 4. j = 2 , 3 , 4 , 5 l = 3 l=3 l = 3 时,i = 1 , 2 , 3. j = 3 , 4 , 5 i=1,2,3.\;j=3,4,5 i = 1 , 2 , 3. j = 3 , 4 , 5 l = 4 l=4 l = 4 时,i = 1 , 2. j = 4 , 5 i=1,2.\;j=4,5 i = 1 , 2. j = 4 , 5 l = 5 l=5 l = 5 时,i = 1. j = 5 i=1.\;j=5 i = 1. j = 5 (d p [ 1 , 5 ] dp[1,5] d p [ 1 , 5 ] 即为所求)根据以上自底向上的计算顺序,可总结出算法的循环体中应该有:i : 1 → n − l + 1 , j : i − l + 1 i:1\to n-l+1,\;j:i-l+1 i : 1 → n − l + 1 , j : i − l + 1
伪代码与复杂度 在算法中,为了简单起见,避免k i . p , d i . p k_i.p,\;d_i.p k i . p , d i . p 这种多余的符号,我们规定输入关键字序列K K K 的个数n n n ,其频率p [ 1.. n ] p[1..n] p [ 1.. n ] ,空隙出现的频率q [ 1.. n + 1 ] q[1..n+1] q [ 1.. n + 1 ] 。
利用二维数组d p [ 1.. n + 1 , 0.. n ] dp[1..n+1,0..n] d p [ 1.. n + 1 , 0.. n ] 作为动态规划表(即备忘录)。根据转移方程可知,只在j ≥ i − 1 j\geq i-1 j ≥ i − 1 时,该数组的内容才会被用到。
d p [ . . ] dp[..] d p [ .. ] 的行列数均是n + 1 n+1 n + 1 是因为存在伪关键字单独作为结点的情况,如d p [ n + 1 , n ] dp[n+1,n] d p [ n + 1 , n ] 表示以k n k_n k n 为根结点时,其右子树为空树,但补上空隙d n d_n d n 作为子结点。同理,d p [ 1 , 0 ] dp[1,0] d p [ 1 , 0 ] 表示k 1 k_1 k 1 为根结点时,左子树为空树时,补上d 0 d_0 d 0 。
与d p [ . . ] dp[..] d p [ .. ] 类似,我们利用二维数组w [ 1.. n + 1 , 0.. n ] w[1..n+1,0..n] w [ 1.. n + 1 , 0.. n ] 存储新增代价,避免后续的重复计算。新增代价的迭代更新也很简单:
w [ i , j ] = { w [ i , j − 1 ] + p [ j ] + q [ j ] , j ≥ i d i − 1 . p , j = i − 1 w[i,j]=\begin{cases} w[i,j-1]+p[j]+q[j],&j\geq i\\ d_{i-1}.p,&j=i-1 \end{cases} w [ i , j ] = { w [ i , j − 1 ] + p [ j ] + q [ j ] , d i − 1 . p , j ≥ i j = i − 1
为记录结果(追溯解 ),我们利用二维数组r o o t [ 1.. n , 1.. n ] root[1..n,1..n] roo t [ 1.. n , 1.. n ] 存储在下标子域r o o t [ i , j ] root[i,j] roo t [ i , j ] 时使得代价最小时选取的根结点r r r . 显然,只有在1 ≤ i ≤ j ≤ n 1\leq i\leq j\leq n 1 ≤ i ≤ j ≤ n 时,该数组的内容才有意义。
输入:关键字序列K K K 的个数n n n ,其频率p [ 1.. n ] p[1..n] p [ 1.. n ] ,空隙出现的频率q [ 1.. n + 1 ] q[1..n+1] q [ 1.. n + 1 ] 输出:OBST的最小代价,根结点的选取表r o o t [ 1.. n , 1.. n ] root[1..n,1..n] roo t [ 1.. n , 1.. n ] Algorithm: Optimal-BST ( n , p , q ) 1. 初始化二维数组 d p , w , r o o t 2. f o r i = 1 t o n + 1 d o 3. d p [ i , i − 1 ] ← q [ i − 1 ] 4. w [ i , i − 1 ] ← q [ i − 1 ] 5. f o r l = 1 t o n d o 6. f o r i = 1 t o n − l + 1 d o 7. j ← i + l − 1 8. d p [ i , j ] ← + ∞ 9. w [ i , j ] ← w [ i , j − 1 ] + p [ j ] + q [ j ] 10. f o r r = i t o j d o 11. t m p ← d p [ i , r − 1 ] + d p [ r + 1 , j ] + w [ i , j ] 12. i f d p [ i , j ] > t m p t h e n 13. d p [ i , j ] ← t m p 14. r o o t [ i , j ] ← r 15. r e t u r n d p [ 1 , n ] a n d r o o t \begin{aligned} &\text{Algorithm: }\;\text{Optimal-BST}(n,p,q)\\\\ 1.&\;\text{初始化二维数组 }dp,\;w,\;root\\ 2.&\;\mathbf{for}\;i\;=1\;\mathbf{to}\;n+1\;\mathbf{do}\\ 3.&\;\qquad dp[i,i-1]\leftarrow q[i-1]\\ 4.&\;\qquad w[i,i-1]\leftarrow q[i-1]\\ 5.&\;\mathbf{for}\;l\;=1\;\mathbf{to}\;n\;\mathbf{do}\\ 6.&\;\qquad\mathbf{for}\;i\;=1\;\mathbf{to}\;n-l+1\;\mathbf{do}\\ 7.&\;\qquad\qquad j\leftarrow i+l-1\\ 8.&\;\qquad\qquad dp[i,j]\leftarrow +\infty\\ 9.&\;\qquad\qquad w[i,j]\leftarrow w[i,j-1]+p[j]+q[j]\\ 10.&\;\qquad\qquad\mathbf{for}\;r\;=i\;\mathbf{to}\;j\;\mathbf{do}\\ 11.&\;\qquad\qquad\qquad tmp\leftarrow dp[i,r-1]+dp[r+1,j]+w[i,j]\\ 12.&\;\qquad\qquad\qquad\mathbf{if}\;dp[i,j]\gt tmp\;\mathbf{then}\\ 13.&\;\qquad\qquad\qquad\qquad dp[i,j]\leftarrow tmp\\ 14.&\;\qquad\qquad\qquad\qquad root[i,j]\leftarrow r\\ 15.&\;\mathbf{return}\;dp[1,n]\;\mathbf{and}\;root \end{aligned} 1. 2. 3. 4. 5. 6. 7. 8. 9. 10. 11. 12. 13. 14. 15. Algorithm: Optimal-BST ( n , p , q ) 初始化二维数组 d p , w , roo t for i = 1 to n + 1 do d p [ i , i − 1 ] ← q [ i − 1 ] w [ i , i − 1 ] ← q [ i − 1 ] for l = 1 to n do for i = 1 to n − l + 1 do j ← i + l − 1 d p [ i , j ] ← + ∞ w [ i , j ] ← w [ i , j − 1 ] + p [ j ] + q [ j ] for r = i to j do t m p ← d p [ i , r − 1 ] + d p [ r + 1 , j ] + w [ i , j ] if d p [ i , j ] > t m p then d p [ i , j ] ← t m p roo t [ i , j ] ← r return d p [ 1 , n ] and roo t
显然,算法嵌套了三层循环,每层执行的操作在O ( 1 ) O(1) O ( 1 ) ,因此该算法的时间复杂度为Θ ( n 3 ) \Theta(n^3) Θ ( n 3 ) ,而利用了3个近似为n × n n\times n n × n 的的二维数组作为备忘和结果,所以空间复杂度为O ( n 2 ) O(n^2) O ( n 2 ) .
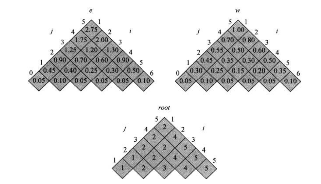
实例与编程 假设给定概率分布 如下:
i i i 0 1 2 3 4 5 p [ i ] p[i] p [ i ] 0.15 0.10 0.05 0.10 0.20 q [ i ] q[i] q [ i ] 0.05 0.10 0.05 0.05 0.05 0.10
下给出 c 系列的编程实现:
1 2 3 4 5 6 7 8 9 10 11 12 13 14 15 16 17 18 19 20 21 22 23 24 25 26 27 28 29 30 31 32 33 34 35 36 37 38 39 40 41 42 43 44 45 46 47 48 49 50 51 52 53 54 55 56 57 #include <iostream> #include <algorithm> #include <string.h> #include <vector> #include <queue> #include <cstdlib> using namespace std;#define M 100 double dp[M][M];double w[M][M];int root[M][M];double Optimal_BST (double p[], double q[], int n) { memset (dp,0 ,sizeof (dp)); memset (root,0 ,sizeof (root)); memset (w,0 ,sizeof (w)); for (int i = 1 ; i <= n+1 ; i++){ dp[i][i-1 ] = q[i-1 ]; w[i][i-1 ] = q[i-1 ]; } for (int l = 1 ; l <= n; l++){ for (int i = 1 ; i <= n-l+1 ; i++){ int j = i+l-1 ; dp[i][j] = INT32_MAX; w[i][j] = w[i][j-1 ]+p[j]+q[j]; for (int r = i; r <= j; r++){ double tmp = dp[i][r-1 ]+dp[r+1 ][j]+w[i][j]; if (dp[i][j] > tmp){ dp[i][j] = tmp; root[i][j] = r; } } } } return dp[1 ][n]; } int main (void ) { double p[6 ] = {0 , 0.15 , 0.10 , 0.05 , 0.10 , 0.20 }; double q[6 ] = {0.05 , 0.10 , 0.05 , 0.05 , 0.05 , 0.10 }; cout << "min E = " << Optimal_BST (p, q, 5 ) << endl << endl; for (int l = 0 ; l <= 5 ; l++){ for (int i = 1 ; i <= 5 -l+1 ; i++){ int j = i+l-1 ; cout << "(" << i << "," << j << "): dp = " ; printf ("%.2f\t" ,dp[i][j]); cout << "w = " ; printf ("%.2f\t" ,w[i][j]); cout << "root = " << root[i][j] << endl; } } return 0 ; }
得到如下旋转过后的各数组结果:
从而得到对于该问题的最小代价为2.75 2.75 2.75 .
最小生成树|Minimum Spanning Tree,MST 对于一个 无向带权连通图 G = ( V , E , W ) G=(V,E,W) G = ( V , E , W ) ,我们需要寻找G G G 的一个无环子集 T T T 使得T ⊆ G T\subseteq G T ⊆ G 且T T T 包含G G G 的所有顶点的同时又具有最小权重,即w ( T ) = ∑ ( u , v ) ∈ T w ( u , v ) w(T)=\sum\limits_{(u,v)\in T}w(u,v) w ( T ) = ( u , v ) ∈ T ∑ w ( u , v ) 的值最小。
由T T T 无环且连通所有顶点可知,T T T 必然是一棵树,我们就称T T T 是 图G G G 的最小生成树 Minimum Spanning Tree,MST。
生成树的性质 生成树具有如下性质 设G ( V , E , W ) G(V,E,W) G ( V , E , W ) 是n n n 阶连通图,即∣ V ∣ = n |V|=n ∣ V ∣ = n ,那么:
T T T 是G G G 的生成树 当且仅当T T T 无环且有n − 1 n-1 n − 1 条边;若某条边e ∈ E ( G ) e\in E(G) e ∈ E ( G ) ,且G G G 的一个生成树T T T 中不含有e e e ,即e ∉ E ( T ) e\notin E(T) e ∈ / E ( T ) ,那么E ( T ) ∪ { e } E(T)\cup \{e\} E ( T ) ∪ { e } 必含有一个回路,记为C C C ;(注:用E ( X ) E(X) E ( X ) 表示某个图X X X 的边集 ) 紧接第二点,如果去掉回路C C C 中任意一条边e ′ , e ′ ≠ e e',\quad e'\neq e e ′ , e ′ = e ,最终得到的T ′ T' T ′ 仍是生成树。 如下图所示:
根据该性质,我们可以初步得出一种找到 MST 的策略: 首先得到一棵生成树T T T ,然后对其加一条非树边e e e 以形成回路C C C . 如果能在C C C 中去掉一条边e ′ e' e ′ ,其中有w ( e ′ ) < w ( e ) w(e')\lt w(e) w ( e ′ ) < w ( e ) ,那么得到的新树T ′ T' T ′ 就有:w ( T ′ ) − w ( T ) = w ( e ′ ) − w ( e ) < 0 w(T')-w(T)=w(e')-w(e)\lt0 w ( T ′ ) − w ( T ) = w ( e ′ ) − w ( e ) < 0 ,即是w ( T ′ ) < w ( T ) w(T')\lt w(T) w ( T ′ ) < w ( T ) .
从而可以根据该策略不断改进,最终得到 MST.
于是,求出一棵生成树的问题也就可以按照如下的通用算法进行描述:
Algorithm: Generic-MST ( G , E , w ) 1. A ← ∅ 2. w h i l e A does not from a spanning tree d o 3. find an edge ( u , v ) that is safe for A 4. A ← A ∪ { ( u , v ) } 5. r e t u r n A \begin{aligned} &\text{Algorithm: }\;\text{Generic-MST}(G,E,w)\\\\ 1.&\;A\leftarrow\varnothing\\ 2.&\;\mathbf{while}\;A\text{ does not from a spanning tree}\;\mathbf{do}\\ 3.&\;\qquad \text{find an edge }(u,v)\text{ that is safe for }A\\ 4.&\;\qquad A\leftarrow A\cup\{(u,v)\}\\ 5.&\;\mathbf{return}\;A \end{aligned} 1. 2. 3. 4. 5. Algorithm: Generic-MST ( G , E , w ) A ← ∅ while A does not from a spanning tree do find an edge ( u , v ) that is safe for A A ← A ∪ {( u , v )} return A
此处的A A A 即是 MST 的边集. 此处的s a f e safe s a f e 表示的是这样一条边( u , v ) (u,v) ( u , v ) 使得A ∪ { ( u , v ) } A\cup\{(u,v)\} A ∪ {( u , v )} 仍然是 MST 边的子集,把这样的边称为 安全边 .
下面将具体介绍两种算法用于求解最小生成树,并且二者均是利用了贪心策略 的思想,但具体如何找到安全边的方法则不一样。
Prim算法 Prim 算法的核心思想是将图的顶点V V V 划分为两个子集S , V − S S,V-S S , V − S . 如果边e = ( u , v ) e=(u,v) e = ( u , v ) 中,u ∈ S , v ∈ V − S u\in S,v\in V-S u ∈ S , v ∈ V − S 则称e e e 横跨 V V V 的一个切割 ( S , V − S ) (S,V-S) ( S , V − S ) .
而 Prim算法 要求不断找到横跨某个切割的最小权重边,这样的边称为 轻量级边 。可以证明这样的轻量级边就是一条安全边 。
Prim算法 将当前的轻量级边划入子集A A A ,对应的端点加入S S S 中,从而构造出下一个切割,再寻找下一条轻量级边,直到所有结点都划入S S S ,最终的结果即为 MST.
说人话就是,初始化最终 MST 的点集和边集为空。 先选定一个点,找与该点距离最近的边 ,然后将此边的连接的另一个端点加入点集,此边加入边集。 接下来,又继续找距离当前这个点集 最近的边,依次加入,直到所有顶点都加入点集。
算法伪码 输入:连通图G G G ,边权w w w ,最小生成树的根结点r r r 输出:最小生成树的边集A A A 其他:v . k e y v.key v . k ey 表示树中与v v v 相连的边权重 ,若不存在则赋为∞ \infty ∞ v . π v.\pi v . π 表示v v v 在树中的父结点,有:边 e = ( v , v . π ) e=(v,v.\pi) e = ( v , v . π ) 的权值是v . k e y v.key v . k ey G . V G.V G . V 表示图G G G 的点集(数学中表示为V ( G ) V(G) V ( G ) )G . A d j [ v ] G.Adj[v] G . A d j [ v ] 表示图G G G 中与结点v v v 相邻的结点的集合(数学中表示为N G ( v ) N_G(v) N G ( v ) ) Algorithm: MST-Prim ( G , w , r ) / / r 是起始点,最终作为树的根结点 1. f o r each u ∈ G . V d o 2. u . k e y ← + ∞ 3. u . π ← N I L 4. r . k e y ← 0 5. Q ← G . V / / Q 为按权重 V . k e y 递增的优先队列 6. A ← ∅ 7. w h i l e Q ≠ ∅ d o 8. u ← Extract-min ( Q ) 9. A ← A ∪ { ( u , u . π ) } 10. f o r each v ∈ G . A d j [ u ] d o 11. i f v ∈ Q and w ( u , v ) < v . k e y t h e n 12. v . π ← u 13. v . k e y ← w ( u , v ) 14. r e t u r n A \begin{aligned} &\text{Algorithm: }\;\text{MST-Prim}(G,w,r)\\ &//r\text{是起始点,最终作为树的根结点}\\\\ 1.&\;\mathbf{for}\;\text{each }u\in G.V\;\mathbf{do}\\ 2.&\;\qquad\;u.key\leftarrow+\infty\\ 3.&\;\qquad\;u.\pi\leftarrow NIL\\ 4.&\;r.key\leftarrow0\\ 5.&\;Q\leftarrow G.V\;//Q\text{为按权重 }V.key\text{ 递增的优先队列}\\ 6.&\;A\leftarrow\varnothing\\ 7.&\;\mathbf{while}\;Q\neq\varnothing\;\mathbf{do}\\ 8.&\;\qquad u\leftarrow\text{Extract-min}(Q)\\ 9.&\;\qquad A\leftarrow A\cup\{(u,u.\pi)\}\\ 10.&\;\qquad\mathbf{for}\;\text{each }v\in G.Adj[u]\;\mathbf{do}\\ 11.&\;\qquad\qquad\mathbf{if}\;v\in Q\text{ and }w(u,v)\lt v.key\;\mathbf{then}\\ 12.&\;\qquad\qquad\qquad v.\pi\leftarrow u\\ 13.&\;\qquad\qquad\qquad v.key\leftarrow w(u,v)\\ 14.&\;\mathbf{return}\;A \end{aligned} 1. 2. 3. 4. 5. 6. 7. 8. 9. 10. 11. 12. 13. 14. Algorithm: MST-Prim ( G , w , r ) // r 是起始点,最终作为树的根结点 for each u ∈ G . V do u . k ey ← + ∞ u . π ← N I L r . k ey ← 0 Q ← G . V // Q 为按权重 V . k ey 递增的优先队列 A ← ∅ while Q = ∅ do u ← Extract-min ( Q ) A ← A ∪ {( u , u . π )} for each v ∈ G . A d j [ u ] do if v ∈ Q and w ( u , v ) < v . k ey then v . π ← u v . k ey ← w ( u , v ) return A
其中,第10到13行是对队列中的结点的属性进行更新 ,使得每次循环都能保证队列中的结点v v v 到MST子集A A A 的权重v . k e y v.key v . k ey 最小,此时保存好在A A A 中与v v v 相连的结点,即是其父结点v . π v.\pi v . π 。
如果优先队列Q Q Q 采用 最小二叉堆 实现,则每一次循环取出当前最小元的过程(利用最小二叉堆实现时)需要花费O ( log ∣ V ∣ ) O(\log |V|) O ( log ∣ V ∣ ) ,while 循环次数O ( ∣ V ∣ ) O(|V|) O ( ∣ V ∣ ) ,for 循环总次数O ( ∣ E ∣ ) O(|E|) O ( ∣ E ∣ ) ,事先装载队列需要O ( ∣ V ∣ ) O(|V|) O ( ∣ V ∣ ) .
综合来看,该算法的时间复杂度为O ( ∣ V ∣ log ∣ V ∣ + ∣ E ∣ log ∣ V ∣ ) = O ( ∣ E ∣ log ∣ V ∣ ) O(|V|\log |V|+|E|\log |V|)=O(|E|\log |V|) O ( ∣ V ∣ log ∣ V ∣ + ∣ E ∣ log ∣ V ∣ ) = O ( ∣ E ∣ log ∣ V ∣ ) ,空间复杂度O ( ∣ V ∣ ) O(|V|) O ( ∣ V ∣ ) .
如果改用斐波那契堆,则时间复杂度还可以进一步优化为O ( ∣ E ∣ + ∣ V ∣ log ∣ V ∣ ) O(|E|+|V|\log|V|) O ( ∣ E ∣ + ∣ V ∣ log ∣ V ∣ ) .
正确性证明 提出命题 ∀ k < n = ∣ V ∣ \forall k\lt n=|V| ∀ k < n = ∣ V ∣ ,存在一棵 MST 包含有算法前k k k 步选择边而纳入的子集A A A 。
当k = 1 k=1 k = 1 时,假设最小生成树T ∗ T^* T ∗ 不包含由选择的根结点r r r 组成的某条轻量级边( r , i ) (r,i) ( r , i ) ,即( r , i ) ∉ T ∗ (r,i)\notin T^* ( r , i ) ∈ / T ∗ . 设T = ( T ∗ − { ( r , j ) } ) ∪ { ( r , i ) } T=(T^*-\{(r,j)\})\cup\{(r,i)\} T = ( T ∗ − {( r , j )}) ∪ {( r , i )} . 因为( r , i ) (r,i) ( r , i ) 是一条轻量级边,即w ( r , i ) = min ( r , t ) ∈ E w ( r , t ) ≤ w ( r , j ) w(r,i)=\min\limits_{(r,t)\in E}w(r,t)\leq w(r,j) w ( r , i ) = ( r , t ) ∈ E min w ( r , t ) ≤ w ( r , j ) ,所以替换后得到的生成树仍然是最优解
现 假设命题成立 ,证明命题对k + 1 k+1 k + 1 的情况也成立。
设算法当前得到的子集A A A 中的顶点集为S S S ,那么第k + 1 k+1 k + 1 步将会从集合V − S V-S V − S 中选取下一个点i k + 1 i_{k+1} i k + 1 纳入S S S ,且保证i k + 1 i_{k+1} i k + 1 到S S S 有最小权边。如图所示:
假设该最小权边记为e = ( i k + 1 , i l ) e=(i_{k+1},i_l) e = ( i k + 1 , i l ) ,则有:e ∈ T e\in T e ∈ T ,若不然,则将e e e 加入到T ∗ T^* T ∗ 中形成回路,这条回路中一定包含有横跨( S , V − S ) (S,V-S) ( S , V − S ) 的另一条边e ′ e' e ′ ,将其从回路中删除得到新的生成树:
T = ( T ∗ − { e ′ } ) ∪ { e } T=(T^*-\{e'\})\cup\{e\} T = ( T ∗ − { e ′ }) ∪ { e }
因为e e e 是最小权边,所以w ( e ) ≤ w ( e ′ ) , w ( T ) ≤ w ( T ∗ ) w(e)\leq w(e'),w(T)\leq w(T^*) w ( e ) ≤ w ( e ′ ) , w ( T ) ≤ w ( T ∗ ) ,所以T T T 仍然是最小生成树,即算法的第k + 1 k+1 k + 1 步仍然能够得到MST的子集。
当算法执行完毕后,结果A = T A=T A = T 是图G G G 的一个最小生成树。
编程实现 采用 C++ 进行编程实现.
首先创建给出结果的边集结构体(Edge),以及由 Node 和 Edge 数组组合而成的图(Graph).
此外还有为Prim算法设计的优先队列,因为C++中没有特定的Decrease-key() 方法,因此直接采用 vector +遍历的方法模拟优先队列。
1 2 3 4 5 6 7 8 9 10 11 12 13 14 15 typedef struct NODE { int tag; int key; int pi; }Node; typedef struct EDGE { int u,v; }Edge; typedef struct GRAPH { int num; vector<int > nodes; vector<Edge> edges; }Graph;
然后是具体的Prim算法实现:
1 2 3 4 5 6 7 8 9 10 11 12 13 14 15 16 17 18 19 20 21 22 23 24 25 26 27 28 29 30 31 32 33 34 35 36 37 38 39 40 41 42 43 44 45 46 47 48 49 50 51 52 53 Node PopMinKey (vector<Node> &Q) { int min = INT32_MAX; Node u; int index; for (int i = 0 ; i < Q.size (); i++){ if (min > Q[i].key){ min = Q[i].key; u = Q[i]; index = i; } } Q.erase (Q.begin ()+index); return u; } void UpdateQueue (vector<Node> &Q, int target, int sourse, int weight) { for (int i = 0 ; i < Q.size (); i++){ if (Q[i].tag == target){ Q[i].key = weight; Q[i].pi = sourse; break ; } } } vector<Edge> MST_Prim (Graph G, int w[], int r = 0 ) { vector<Node> Q; for (int i = 0 ; i < G.num; i++){ Q.push_back ({G.nodes[i], INT32_MAX, -1 }); } Q[0 ].key = 0 ; Q[0 ].pi = 1 ; vector<Edge> A; while (!Q.empty ()){ Node u = PopMinKey (Q); A.push_back ({u.tag, u.pi}); for (int i = 0 ; i < G.edges.size (); i++){ if (G.edges[i].u == u.tag){ UpdateQueue (Q, G.edges[i].v, u.tag, w[i]); } if (G.edges[i].v == u.tag){ UpdateQueue (Q, G.edges[i].u, u.tag, w[i]); } } } return A; }
实例演示 考虑如下图所示的实例,其正确答案已给出。
3 1 2 4 5 6 6 3 6 5 6 4 2 1 5 5 3 1 2 4 5 6 6 3 6 5 6 4 2 1 5 5 3 1 2 4 5 6 6 3 6 5 6 4 2 1 5 5 3 1 2 4 5 6 6 3 6 5 6 4 2 1 3 1 2 4 5 6 3 6 5 6 4 2 1 3 1 2 4 5 6 3 5 4 2 1 编写主函数:
1 2 3 4 5 6 7 8 9 10 11 12 13 14 15 16 17 18 int main (void ) { Graph G; int u,v; G.num = 6 ; for (int i = 0 ; i < 6 ; i++){ G.nodes.push_back (i+1 ); } for (int i = 0 ; i < 10 ; i++){ cin >> u >> v; G.edges.push_back ({u,v}); } int w[10 ]= {6 ,1 ,5 ,5 ,3 ,5 ,6 ,4 ,2 ,6 }; vector<Edge> MST = MST_Prim (G,w); for (int i = 1 ; i < MST.size (); i++){ cout << "(" << MST[i].u << ", " << MST[i].v << ")" << endl; } while (1 ); }
结果如下:
1 2 3 4 5 6 7 8 9 10 11 12 13 14 15 16 17 18 输入(边集): 1 2 1 3 1 4 2 3 2 5 3 4 3 5 3 6 4 6 5 6 输出(边集): (3, 1) (6, 3) (4, 6) (2, 3) (5, 2)
Prefect!
Kruskal算法 Kruskal 算法的核心是与 Prim算法 不同。 Kruskal算法并不要求每一步所选最小权边 都是相互连通的。换言之,Kruskal算法中第k k k 步产生的子集A A A 不一定是一棵子树,而有可能是森林。当然,即使是森林也不可能出现环。
不难发现,Prim算法因为每一步仅选取一个点及其轻量级边纳入A A A ,所以可以保证A A A 中的边一定不构成回路,且是一棵树,而Kruskal算法则需要有一个判断是否构成回路的策略 。这个策略可以利用并查集 这种数据结构解决。
综上,Kruskal算法的思想就是,先对边集进行升序排列 ,然后考察当前最小边纳入A A A 之后是否构成回路,如果构成回路则跳过并寻找下一条边。
算法伪码 输入:连通图G G G ,边权w w w 输出:最小生成树的边集A A A Algorithm: MST-Kruskal ( G , w ) 1. f o r each u ∈ G . V d o 2. Make-Set ( u ) 3. Q ← G . E / / Q 为按权重 w ( e ) 递增的优先队列 4. A ← ∅ 5. r e p e a t 6. ( u , v ) ← Extract-min ( Q ) 7. i f Find-Set ( u ) ≠ Find-Set ( u ) t h e n 8. A ← A ∪ { ( u , u . π ) } 9. Union ( u , v ) 10. u n t i l ∣ A ∣ = ∣ V ∣ − 1 11. r e t u r n A \begin{aligned} &\text{Algorithm: }\;\text{MST-Kruskal}(G,w)\\\\ 1.&\;\mathbf{for}\;\text{each }u\in G.V\;\mathbf{do}\\ 2.&\;\qquad\;\text{Make-Set}(u)\\ 3.&\;Q\leftarrow G.E\;//Q\text{为按权重 }w(e)\text{ 递增的优先队列}\\ 4.&\;A\leftarrow\varnothing\\ 5.&\;\mathbf{repeat}\\ 6.&\;\qquad (u,v)\leftarrow\text{Extract-min}(Q)\\ 7.&\;\qquad\mathbf{if}\;\text{Find-Set}(u)\neq\text{Find-Set}(u)\;\mathbf{then}\\ 8.&\;\qquad\qquad A\leftarrow A\cup\{(u,u.\pi)\}\\ 9.&\;\qquad\qquad\text{Union}(u,v)\\ 10.&\;\mathbf{until}\;|A|=|V|-1\\ 11.&\;\mathbf{return}\;A \end{aligned} 1. 2. 3. 4. 5. 6. 7. 8. 9. 10. 11. Algorithm: MST-Kruskal ( G , w ) for each u ∈ G . V do Make-Set ( u ) Q ← G . E // Q 为按权重 w ( e ) 递增的优先队列 A ← ∅ repeat ( u , v ) ← Extract-min ( Q ) if Find-Set ( u ) = Find-Set ( u ) then A ← A ∪ {( u , u . π )} Union ( u , v ) until ∣ A ∣ = ∣ V ∣ − 1 return A
其中:
Make-Set ( u ) \text{Make-Set}(u) Make-Set ( u ) 用于创建集合,第 1到2 行用于为每一个结点单独创建一个集合(树)Find-Set ( u ) \text{Find-Set}(u) Find-Set ( u ) 返回用于表示元素u u u 所在的集合的元素,第 7 行 用于判断加入( u , v ) (u,v) ( u , v ) 后是否构成环,即合并两颗树后是否仍是树Union ( u , v ) \text{Union}(u,v) Union ( u , v ) 用于将u , v u,v u , v 所在集合进行合并分析得知,一共循环O ( ∣ E ∣ ) O(|E|) O ( ∣ E ∣ ) 次,每个循环下,生成集合、取出最小元、合并集合都在O ( log ∣ E ∣ ) O(\log |E|) O ( log ∣ E ∣ ) 下完成。因此该算法的时间复杂度为O ( ∣ E ∣ log ∣ E ∣ ) O(|E|\log |E|) O ( ∣ E ∣ log ∣ E ∣ ) ,如果注意到∣ E ∣ ≤ ∣ V ∣ 2 |E|\leq|V|^2 ∣ E ∣ ≤ ∣ V ∣ 2 ,则还可以表示为O ( ∣ E ∣ log ∣ V ∣ ) O(|E|\log|V|) O ( ∣ E ∣ log ∣ V ∣ ) 。 空间复杂度为O ( ∣ V ∣ ) O(|V|) O ( ∣ V ∣ ) 。
正确性证明 利用数学归纳法 . 证明 对于任意结点数为∣ V ∣ = n |V|=n ∣ V ∣ = n 的无向图G G G ,贪心算法都能得到一棵最小生成树.
n = 2 n=2 n = 2 时,算法能够直接从连接图G G G 的两个端点中找到一条最小权边 ,显然能够得到最小生成树;假设 对于任意n n n 阶图,算法都能得到MST,下面说明对于n + 1 n+1 n + 1 阶图也能得出.对于任意n + 1 n+1 n + 1 阶图G G G ,将其最小权边e = ( i , j ) e=(i,j) e = ( i , j ) 短接 ,如下图所示,将图化为n n n 阶图G ′ G' G ′ 。根据归纳假设,算法能够给出G ′ G' G ′ 的一棵 MST 记为T ′ T' T ′ 。
1 3 2 4 5 6 短接 1 3 2 5 4-6 G G' 1 3 2 5 4-6 T' 1 3 2 4 5 6 恢复 T MST 则T = T ′ ∪ { e } T=T'\cup\{e\} T = T ′ ∪ { e } 就是G G G 的一棵 MST,若不然,∃ T ∗ ∋ e \exists T^*\ni e ∃ T ∗ ∋ e 为G G G 的 MST.
注:就算e ∉ T ∗ e\notin T^* e ∈ / T ∗ 也可以通过加边再减边的方式得到包含e e e 的 MST. (这部分更详细的解释已在Prim算法的正确性证明时给出)
此时,有w ( T ∗ ) < w ( T ) ⇒ w ( T ∗ − { e } ) < w ( T − { e } ) = w ( T ′ ) w(T*)\lt w(T)\Rightarrow w(T^*-\{e\})\lt w(T-\{e\})=w(T') w ( T ∗ ) < w ( T ) ⇒ w ( T ∗ − { e }) < w ( T − { e }) = w ( T ′ ) 这与T ′ T' T ′ 是G ′ G' G ′ 的最小生成树矛盾.
综上所述,Kruskal 算法能够给出任意n n n 阶图的MST.
编程实现 采用 C++ 进行编程实现.
首先声明必要的结构体以及以边权大小排序的优先队列:
1 2 3 4 5 6 7 8 9 10 11 12 13 14 15 16 17 18 typedef struct EDGE { int u,v; int w; }Edge; typedef struct GRAPH { int num; vector<int > nodes vector<Edge> edges; }Graph; struct cmp { bool operator () (Edge a, Edge b) { return a.w > b.w; } }; typedef priority_queue<Edge,vector<Edge>,cmp> EdgeQue;
利用 vector 自建并查集及其相关的合并查找函数:
1 2 3 4 5 6 7 8 9 10 11 12 13 14 15 16 17 18 19 20 21 22 23 typedef struct SET { int root; int value; }Set; vector<Set> MakeSet (vector<int > a) { vector<Set> set (a.size()) ; for (int i = 0 ; i < a.size (); i++){ set[i].root = a[i]; set[i].value = a[i]; } return set; } void SetUnion (vector<Set> &set, int a, int b) { int i = max (set[a].root, set[b].root); int j = min (set[a].root, set[b].root); for (int k = 0 ; k < set.size (); k++){ if (set[k].root == i){ set[k].root = j; } } }
最后是 Kruskal算法的实现:
1 2 3 4 5 6 7 8 9 10 11 12 13 14 15 16 17 vector<Edge> MST_Kruskal (Graph G) { vector<Edge> A; vector<Set> set = MakeSet (G.nodes); EdgeQue Q; for (int i = 0 ; i < G.edges.size (); i++){ Q.push ({G.edges[i].u, G.edges[i].v, G.edges[i].w}); } do { Edge e = Q.top (); Q.pop (); if (set[e.u].root != set[e.v].root){ A.push_back ({e.u, e.v}); SetUnion (set, e.u, e.v); } } while (A.size () < G.num-1 ); return A; }
利用和 Prim进行演示时相同的实例,编写主函数:
1 2 3 4 5 6 7 8 9 10 11 12 13 14 15 16 17 18 int main (void ) { Graph G; int u,v; G.num = 6 ; int w[10 ]= {6 ,1 ,5 ,5 ,3 ,5 ,6 ,4 ,2 ,6 }; for (int i = 0 ; i < 6 ; i++){ G.nodes.push_back (i+1 ); } for (int i = 0 ; i < 10 ; i++){ cin >> u >> v; G.edges.push_back ({u,v,w[i]}); } vector<Edge> MST = MST_Kruskal (G); for (int i = 0 ; i < MST.size (); i++){ cout << "(" << MST[i].u << ", " << MST[i].v << ")" << endl; } while (1 ); }
结果如下:
1 2 3 4 5 6 7 8 9 10 11 12 13 14 15 16 17 18 输入(边集): 1 2 1 3 1 4 2 3 2 5 3 4 3 5 3 6 4 6 5 6 输出(边集): (1, 3) (4, 6) (2, 5) (3, 6) (2, 3)
Prefect!
参考 《算法导论 (原书第三版)》 算法设计与分析|中国大学MOOC 哈夫曼树(赫夫曼树、最优树)详解 C++优先队列自定义排序总结|CSDN